WI-X12SPL-F

Workstation
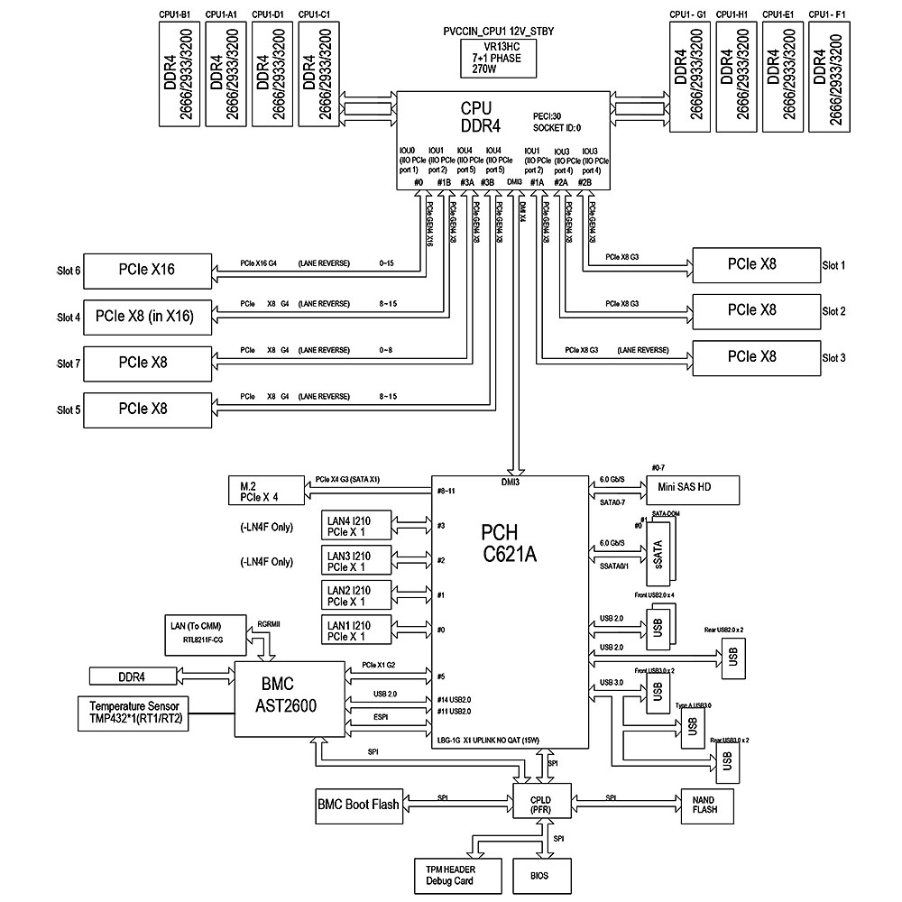
  • 3rd Gen Intel® Xeon® Scalable processors, Single Socket LGA-4189 (Socket P+) supported, CPU TDP supports Up to 270W TDP
  • Intel® C621A
  • Up to 2TB 3DS ECC RDIMM, DDR4-3200MHz; Up to 2TB 3DS ECC LRDIMM, DDR4-3200MHz
    Up to 2TB Intel® Optane™ Persistent Memory, in 8 DIMM slots
  • 2 PCIe 4.0 x8,
    1 PCIe 4.0 x16,
    1 PCIe 4.0 x8 (in x16 slot)
    3 PCIe 3.0 x8
    M.2 Interface: 1 SATA/PCIe 3.0 x4
    M.2 Form Factor: 2280/22110
    M.2 Key: M-Key
  • Intel® C621A controller for 10 SATA3 (6 Gbps) ports; RAID 0,1,5,10
  • Dual LAN with Intel® i210 Gigabit Ethernet Controller
Specification
System
CPU

3rd Gen Intel® Xeon® Scalable processors

Single Socket LGA-4189 (Socket P+) supported, CPU TDP supports Up to 270W TDP

Chipset
Intel® C621A
System Memory

8 DIMM slots

Up to 2TB Intel® Optane™ Persistent Memory 200 Series

Up to 2TB 3DS ECC LRDIMM, DDR4-3200MHz; Up to 2TB 3DS ECC RDIMM, DDR4-3200MHz

BIOS
AMI UEFI
Graphic
1 ASPEED AST2600 BMC port(s)
Expansion Slot

1 PCIe 4.0 x16,

1 PCIe 4.0 x8 (in x16 slot),

2 PCIe 4.0 x8,

3 PCIe 3.0 x8

M.2 Interface: 1 SATA/PCIe 3.0 x4

Form Factor: 2280/22110

Key: M-Key

Form Factor
ATX
Dimension
12.1″ x 10″ (30.73cm x 25.4cm)
I/O Interface
Display
1 VGA port(s)
Storage
Intel® C621A controller for 10 SATA3 (6 Gbps) ports; RAID 0,1,5,10
Ethernet
Dual LAN with Intel® i210 Gigabit Ethernet Controller
Audio
USB

6 USB 2.0 port(s) (4 via header; 2 rear)

5 USB 3.2 Gen1 port(s) (2 via header; 2 rear; 1 type A)

Internal USB Port

1 USB 3.0

Serial
1 COM Port(s) (1 header)
PS/2 Port
N/A
TPM
1 TPM Header
*規格如有變更,恕不另行通知。